华纳云服务器怎么样?华纳云成立于 2015 年,隶属于香港联合通讯国际有限公司,是知名的 IDC 品牌、全球数据中心基础服务提供商。多年来致力于提供云服务器,物理服务器租用,高防服务器,高防IP等优质产品与服务,并不断在香港、东南亚、北美地区扩容数据中心,拥有极速 BGP 冗余网络、CN2 GIA 回国专线,数据中心 7*24H 常驻技术人员,为客户提供互联网业务解决方案,帮助企业在全球范围内实现转型、竞争和业务攀升。
一、华纳云官网地址
华纳云官网:www.hncloud.com
美国站群服务器测试IP:154.23.188.254
支付方式:支付宝,PayPal ,银行在线转账,银行线下转账等。
二、华纳云美国服务器
华纳云美国站群服务器,IP 资源丰富,最高可选 253 个可用 IP 地址,提供 1C/253个、2C/250个 、4C/244个等三种选择,不限流量,支持 IP 定制,精品 CN2 三网直连,速度快,延迟低,网络在线率高达 99.99%!华纳云美国站群服务器配备全新 E5 CPU,高性能 SSD 硬盘,高速稳定,性能卓越,提供 7*24 小时在线技术运维,正常情况下,一个小时之内即可交付使用完成部署。
购买美国站群服务器,提供 50M CN2/100M 国际带宽可选,下单还免费赠送 20G DDoS 防御,1C/253 个 IP,最低 1488 元起!
下面是具体的配置详情及价格,如下所示:
| 产品型号 | CPU | 内存 | 硬盘 | 带宽 | IP段 | 价格(元/月) | 防御 | 购买 |
| 美国站群-A型 | E5-2660 V2 | 16G | 500G SSD | 50 M CN2/100国际带宽 | 1C/253个 | 1488 | 20G | 链接 |
| 2C/250个 | 1588 | 20G | 链接 | |||||
| 4C/244个 | 1688 | 20G | 链接 | |||||
| 美国站群-B型 | E5-2660 V2 | 32G | 500G SSD | 50 M CN2/100国际带宽 | 1C/253个 | 1688 | 20G | 链接 |
| 2C/250个 | 1788 | 20G | 链接 | |||||
| 4C/244个 | 1888 | 20G | 链接 | |||||
| 美国站群-C型 | E5-2660 V2 *2 | 64G | 500G SSD | 50 M CN2/100国际带宽 | 1C/253个 | 2088 | 20G | 链接 |
| 2C/250个 | 2188 | 20G | 链接 | |||||
| 4C/244个 | 2288 | 20G | 链接 |
可以看出,总体价格还是很优惠的,性价比很高。有多种配置方案可供选择,支持按需定制!付款周期如果选择年付,那么还可以享受更大的折扣,满1年减免2个月费用。付款方式支持支付宝,PayPal ,银行在线转账,银行线下转账等。
三、华纳云美国站群服务器测评
具体配置:E5-2660 V2,16G,500G SSD,50M CN2
先看看本地 Ping 的延迟效果,如下所示:
可以看到本地 Ping 的延迟效果在 184ms 左右,这个延迟对于美国机房来说算是比较低的了,而且可以看到网络非常的稳定,没有丢包的情况。
我们再看看全国 Ping 的延迟效果,如下所示:
可以看到三网 Ping 的平均延迟在 162ms 左右,可以看到电信和联通网络延迟差不多在 160ms 左右,移动网络稍微高点在 185ms 左右,不过延迟还是很低的。所以从延迟效果来看还是相当不错的。
接下来我们再看看全球各节点的网络稳定性情况,如下所示:
可以看到全球各地网络稳定性都是相当不错的,不管是国内还是国外都基本没有丢包的情况,欧美地区除了网络稳定外,延迟都还是非常低的。
下面我们看看三网的去程路由线路。
电信去程路由:
电信去程路由是从上海网口出去,经过圣何塞节点后到达洛杉矶节点。
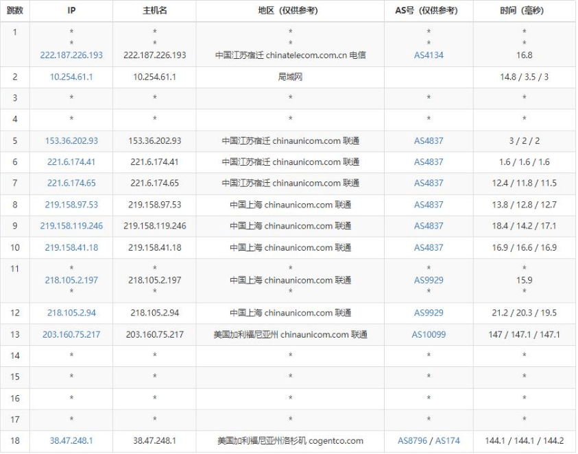
联通去程路由:
联通去程路由是从上海网口出去,然后直连洛杉矶机房,并且走的是 AS487 线路转 AS9929 的联通优化线路。
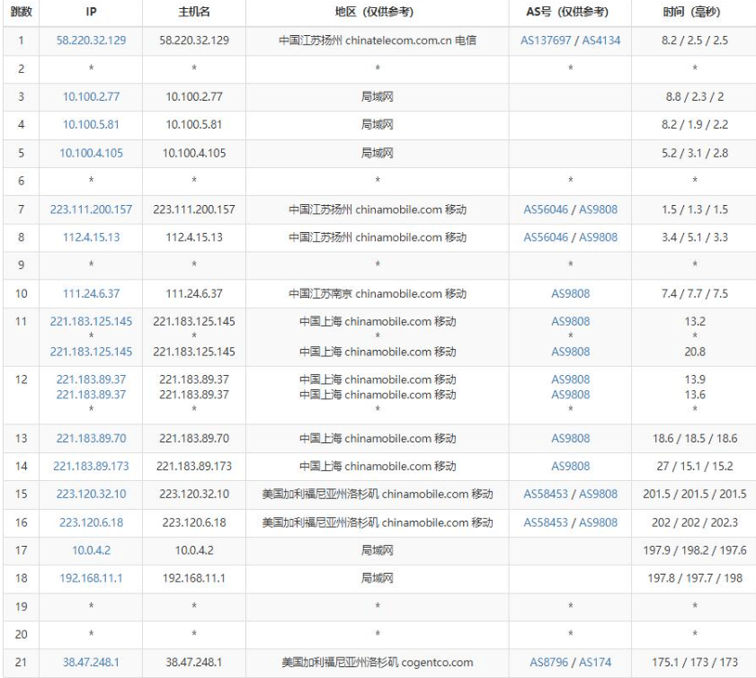
移动去程路由:
移动去程路由是从上海网口出去,然后直连洛杉矶机房。
接下来我们再看看三网回程路由线路情况。
电信回程路由:
电信回程路是直连回国,并且走的是 59.43 的 CN2 线路,相当不错的。
联通回程路由:
联通回程线路走的是 AS9929 的联通优化线路,并且都是直连的。
移动回程路由:
移动回程路由是走的联通的 AS9929 优化线路,一般海外移动线路是很少走这种联通的优化线路的,所以是相当不错的。
接下来我们再看看这款美国站群服务器的性能和速度怎么样,如下所示:
可以看到服务器采用的是 E5-2660 V2.2G 的 10 核 20 线程处理器(也有 20 核 40 线程可选),磁盘 I/O 在 210MB/秒左右,可以确定使用的是 SSD 固态硬盘,上传和下载速度都跑满了 50Mbps,相当的不错的。
以上就是关于华纳云美国站群服务器的相关测评介绍,整体来说这款美国站群服务器是相当不错的,网络稳定、线路好、速度快、性价比高,有需要美国站群服务器的用户值得推荐,可以参考购买。

老唐笔记


















