Jtti 是一家专业的新加坡服务商,自营香港/美国/新加坡多个海外数据中心,主要提供云服务器、物理服务器以及高防服务器等产品,机房拥有 10+BGP 线路和 CN2 线路,智能切换路由,线路稳定,低延迟网络,超 100+Gbps 带宽容量,可满足全球用户高速访问。
现在租用 Jtti 物理服务器/高防服务器,低至 5 折,续费同价,一次性订购 1 年,可优惠 2 个月费用,相当于只需要支付 10 个月的费用就可以买一年,相当的划算,付款支持 PayPal、支付宝、微信等方式,购买也很方便,提供 7*24h 中文技术支持,无忧售后!
Jtti官网:https://www.jtti.cc/
Jtti 物理服务器:
Jtti 目前提供美国/新加坡/中国香港三个节点的物理服务器租用服务,标配 3 个 IP,支持 Windows 和 Linux 操作系统,带宽、IP 均可自定义,最高可享 1G 大带宽。
| 参数项 | 套餐1 | 套餐2 | 套餐3 | 套餐4 | 套餐5 |
| CPU处理器 | E5-2660 | E5-2660*2 | E5-2660 V2 | E5-2660 V2 | E5-2660 |
| 内存 | 16G | 64G | 16G | 32G | 32G |
| 硬盘 | 500G SSD | 500G SSD | 500G SSD | 500G SSD | 500G SSD |
| 带宽 | 10M | 10M | 50M | 50M | 10M |
| 地域 | 中国香港 | 中国香港 | 美国 | 美国 | 新加坡 |
| 价格(月) | $135.4 | $249.8 | $115.4 | $138.5 | $215.8 |
| 购买链接 | 立即购买 | 立即购买 | 立即购买 | 立即购买 | 立即购买 |
Jtti 高防服务器:
Jtti 高防服务器,香港/美国/新加坡节点可选,数据中心配备顶级硬件防火墙,T 级防护,最高可享无限防御,支持 DDOS、CC、TCP、Web 等多种防护类型,支持压力测试!
| 参数项 | 套餐1 | 套餐2 | 套餐3 | 套餐4 |
| CPU处理器 | E5-2660 | E5-2660 | E5-2660 V2 | E5-2660 |
| 内存 | 16G | 16G | 16G | 32G |
| 硬盘 | 500G SSD | 500G SSD | 500G SSD | 500G SSD |
| 带宽 | 10M | 10M | 50M | 10M |
| Ddos防御 | 20G | 50G | 30G | 50G |
| 地域 | 中国香港 | 中国香港 | 美国 | 新加坡 |
| 价格(月) | $196.3 | $446.15 | $192.31 | $453.8 |
| 购买链接 | 立即购买 | 立即购买 | 立即购买 | 立即购买 |
网络测试 IP:
测试 IP: 38.47.218.254(香港服务器)
测试 IP: 38.47.236.254(美国服务器)
测试 IP: 38.47.224.254(新加坡服务器)
测试 IP: 38.47.222.254(香港高防服务器)
测试 IP: 38.47.237.254(美国高防服务器)
测试 IP: 38.47.225.254(新加坡高防服务器)
下面是 Jtti 香港服务器测评情况,E5-2660 CPU、16G 配置
先看看本地 Ping 的延迟效果,如下所示:
可以看到本地 Ping 的平均延迟在 45ms 左右,这个延迟对于香港服务器来说还是相当不错的,并且可以看到网络很稳定,基本没有丢包的情况。
下面看看全国三网 Ping 的延迟效果,如下所示:
全国三网 Ping 的平均延迟在 53ms 左右,其中电信网络 50ms,联通网络 107ms,移动网络 50ms.
下面是通过第三方工具测评的全球各地网络稳定性情况,如下所示:
可以看到全球各节点网络稳定性还是相当不错的,不管是国内还是国外基本都没有丢包的情况,亚洲地区延迟都在 100ms 以内。
我们下面来看看香港服务器三网去程和回程路由情况。
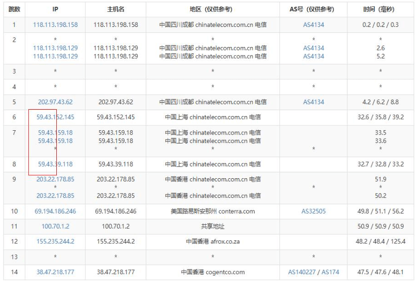
电信去程路由:
电信去程路由是从上海网口出去,然后直连香港机房,走的是 59.43 的 CN2 线路。
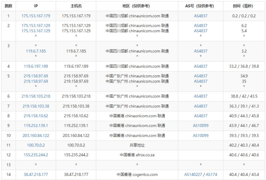
联通去程路由:
联通去程路由是从广州网口出去,然后直连香港机房,走的是 AS4837 线路。
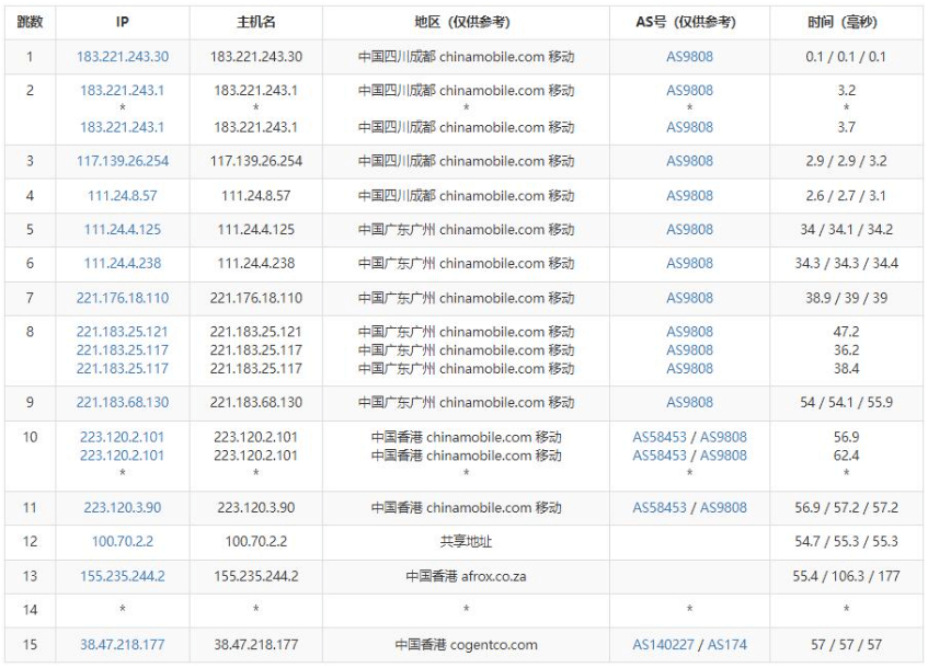
移动去程路由:
移动去程路由是从广州网口出去,然后直连香港机房,走的是移动 CMI 线路。
下面我们再看三网回程路由情况。
电信回程路由:
电信回程路由直连国内网口,并且走的是 59.43 的 CN2 线路。
联通回程路由:
联通回程路由从广州网口进入,走 AS4837 线路。
移动回程路由:
移动回程直连国内网口,走 CMI 线路。
所以总结下就是:电信双向 CN2,联通双向 AS4837,移动双向 CMI。
最后我们看看香港服务器性能和速度怎么样,如下所示:
可以看到这款香港服务器使用的 2.2 GHz 主频 CPU,磁盘 IO 在 378MBI秒左右,性能还是不错的。上传速度差不多达到了 100Mbps,下载速度跑满 10Mbps。
以上就是关于 Jtti 的香港服务器相关测评介绍,整体来说这款香港服务器还是相当不错的,延迟低、网络稳定、速度快,适合国内用户使用。
本文系广告。

老唐笔记

















